原创手绘插画戴眼镜的男孩
手绘头像秋冬高领眼镜男士
帅气男头|带眼镜的帅小伙#适合男生的头像推荐 #孤独感拉满的 - 抖音
手绘卡通q版人物眼镜男生头像元素
戴眼镜的q版男生头像可爱风 96原创 99最近喜欢画这种简单又可爱
头像 男 卡通动漫手绘 戴眼镜气质男生 高清 头像收集社 自动发货
手绘戴眼镜的男人
手绘q版人物简笔画头像戴眼镜的校草小帅哥-8kb「插画」 25款q版头像
斯文败类 :眼镜杀 男生头像! 原来,还有这种 禁欲系呐!
人物头像黑色素材_人物头像黑色图片元素-觅元素
眼镜男生头像
黑框眼镜的头像图片
gta5不知火舞韩中日snk版
因此,在微信上设置一张独特的图片头像,对于表达
狼性文化是,敏锐的嗅觉,不屈不饶奋不顾身的进攻精神和群体奋斗的意识
2021年六月第一天早安心语正能量语录句子 励志鼓励的话语图片
鞠躬图片头像微信表示感谢鞠躬头像图片大全
腹泻消瘦皮肤黄,胰腺肿瘤要慎防
jk制服女生头像
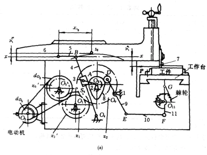
机械原理课程设计任务书-牛头刨床
奥迪rs7 sportback,中国红nice
annerun紧身运动上衣女露脐短款性感健身服跑步速干衣瑜伽短袖t恤
渴望城市:小莲哭的泣不成声,老潘占了便宜还想用钱了事,太过分了
纪念碑怎么画