机械原理课程设计-剥豆机
机械原理课程设计-铆钉自动冷镦机ppt
变速箱维修 #机械原理动图 - 抖音
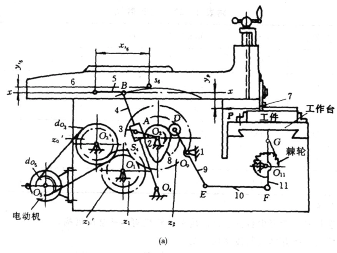
姚海培的机械原理课程设计牛头刨床说明书
机械原理课程设计(传动系统设计-授课)ppt
台式攻丝机-主轴正反转的原理,请教 - 第2页 - 机械设计 - 机械社区
一波机械原理动画
机械原理课程设计之牛头刨床7点和12点
机械原理课程设计
机械原理课程设计任务书
机械手传动系统图a2cad图纸
机械原理课程设计任务书66784
【恋爱舞台】女装大佬诱受&痴汉攻!高能名场面!太甜啦太甜啦!
虎牙直播logo-竖版.png
猫猫头像
萌萌海洋生物简笔画|手帐贴纸|可爱头像素 喜欢哪只,快来把它捉回家
原创宝宝胖得像米其林奶奶逢人就炫耀自己养得好明白人去医院吧
烫金化妆品套装礼品包装盒白卡纸长方形保健品彩盒包装盒印logo
晴天周杰伦简谱五线谱钢琴伴奏谱
黄瓜最正确切法,这是真的高手!
叉烧拼白切鸡
盘点《雍正王朝》乔引娣,年秋月,郑春华等7位知名女演员现状!
盘点30首民谣吉他弹唱歌曲(附吉他谱),如果民谣有"天花板",你会选哪一
nvidia狮乐shilebm15十五英寸专业舞台音箱大型会议室大功率音响一对