北斗高清村庄卫星地图 有没有高清的卫星地图,分辨率达到米的?
通过卫星地图再次欣赏《金龟朝北斗》
北斗卫星地图2021年
2021版北斗高清卫星地图 官方最新版
地图,北斗镇航拍照片,2020北斗镇卫星地图,北斗镇北斗卫星地图2021
手机开启北斗卫星地图从空中直接俯视地面连汽车行人都看到
北斗实时高清卫星地图v2021
北斗导航高清卫星地图下载
卫星地图下载哪个好用北斗实时高清卫星地图排行榜
2021北斗超清卫星地图合集
北斗地图高清卫星地图2018 高清版
简谱
西游记原来这么搞笑,小时候看时不知道!八戒怼天怼地对师傅
台湾男歌手名单台湾老牌男歌手名单
北约30个成员国名单28个国家位于欧洲
木业开门大吉活动海报psd源文件
赛前疯狂搞心态,rng众人被爆情史,小虎最离谱_gala_女生_女朋友
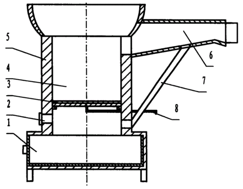
cn201059626y_民用节能火炉失效
q版动漫超q超可爱长大的代价一切悲喜都只能够自渡
一个人,孤独,伤感,悲伤,2k,风景一个人孤独久了的表现 壁纸图片
颜值美图:知名演员赵丽颖高清写真集
μs标志图案双肩包商品货号:4549970137171累计评论(0)商品咨询(0)