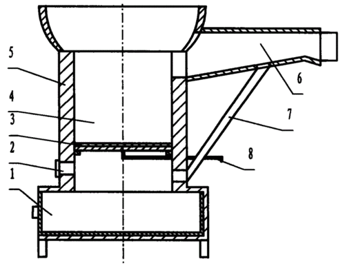
一种火箭炉的制作方法
柴火炉之后出来个火箭炉
室外取暖炉 户外柴火炉便携大号升级家用柴火灶室外取暖拆卸定制
火箭柴炉rocketstove
火箭炉最佳尺寸图纸制作节能温室火箭炉质量加热器原理
便携式卡片火箭炉 - 军工模型图纸 - 沐风网
各式火箭炉合集
新型火箭炉设计
三次进气火箭炉测试公布图纸大家一起来纸上谈兵
一种高效安全节能垃圾燃烧炉的制作方法
户外用火箭炉模型
航天炉ht-l煤气化工艺(用户篇)1ppt
简约创意印刷制作广告公司宣传单
女生头像冷酷帅气图片社会真人
图片
霸王花勇斗国际大盗,看武打女星惠英红精彩武姿
01695新款青龙偃月刀十八般兵器
迈巴赫车标壁纸
【窥探mouse】巴凛杀疯了我也疯了
雾山五行女配版嗔兽‖瞎录一通,刷到别喷
安静吃瓜(杰尼龟表情包)
双马尾萌系动漫少女桌面壁纸
丽萍孔雀舞被指不雅,男舞者大胆近乎全裸,遭到大批网友抵制_艺术_照片
尤其是冬天的雪景,雾凇景观,北极光,滑雪场和冰雕节,冰瀑布,夜空,日出