一种汽车外球笼的制作方法
抵触式内球笼-爱企查
三销轴,十字轴,球笼硬车刀具-pcbn刀具
图2 可轴向移动的球笼等速万向节
cn208010793u_一种驱动轴总成的内球笼结构有效
一种带输入轴稳定结构的内球笼的制作方法
cn201461766u_等速万向节内球笼总成组件有效
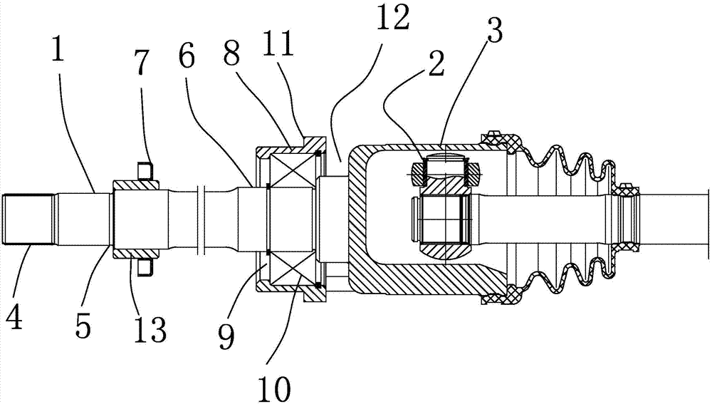
cn205533834u_一种驱动轴总成中的内球笼防护结构有效
汽车上的球笼是干什么的?如果它损坏了汽车有哪些故障现象?
驱动轴内球笼安装步骤
一种大扭矩汽车球笼内的星形套的制作方法
技术 正文 球笼是等速万向节的一种,其还分为两种结构.
分享图片一鸟语花香,人间仙境,真是太美啦
老湘潭,九人传,门中佛爷高处寒.老九门.
4,《唐人街探案3》尚语贤饰演黑客侦探kiko 责任编辑:任芯仪(en063)
美国陆军第3机械化步兵师士兵
592_480gif 动态图 动图
吴磊穿越火线##吴磊
给汽水做一些装饰,在中间画一些叶子做点缀,这样夏天手抄报线稿就完成
这袜子有种莫名的喜感 - 搞笑图片 - 查字典
戏里戏外, @阿玛尼 黑钥匙面霜都呈现出完美的修护
古风插画人物细画薄涂角色插画深入刻画训练
梁朝伟被骂从人前影帝到人后抑郁你根本不了解他
爱的供养简谱歌词杨幂演唱王wzh曲谱