相关图片
悬臂吊的制作方法
供应2021新款手动旋臂吊 定制可360度旋转悬臂吊起重机
悬臂吊生产厂家立柱悬臂吊 吊车 小型悬臂吊 手动移动式悬臂吊
工厂价 小型悬臂吊立柱式旋臂吊 移动式悬臂吊 厂家批发机械设备
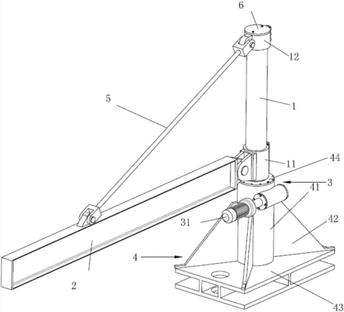
一种电动旋转吊臂,包括立柱机架(1)与立柱机架(1)连接的悬臂梁(2)
可定制移动立柱式悬臂吊 电动360度旋转小型悬臂吊起重机
悬臂起重机柱式旋臂式起重机图纸厂房旋臂吊装配图
悬臂吊
立柱式悬臂吊独臂吊墙壁吊摇臂吊1吨2吨3吨5吨电动旋转360度180度
悬臂吊电动旋转独臂吊小型悬臂吊摇臂吊升降机手动单臂吊机墙壁吊 200
1t悬臂吊下载(147.61 kb,rar格式) 机械cad图纸
5吨悬臂吊旋转机构设计图-设计方案图纸-沐风网