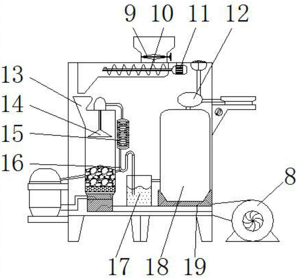
一种高效秸秆气化炉的制作方法
图片链接
缩略图
原图
外链
相关图片
煤气罐改气化炉加工各种柴火炉新密市白寨镇华沟加油站往西100 - 抖音
cn201198466y_新型多功能生态环保节能秸秆气化炉失效
秸秆气化炉制作图纸(有邮箱的话,可以发去详细)
小型农户日常燃用的上吸式生物质燃气气化炉
定制柴煤两用气化炉家用取暖炉室内回风炉柴火炉烧木材冬季无烟烤
与车无关自制野炊用木柴气化炉
视频:diy自制"无烟 气化炉",几根小 木柴就能烧开一壶水,野营必备
燃气炭化炉的制作方法
cn201634638u_旋流式熔融池气化炉失效
民用柴煤两用气化炉产品标准
柴煤一体无烟气化炉,可以烧各种木柴或者煤,木炭,秸秆,玉米芯 - 抖音
126斤气化柴火炉家用取暖炉室内无烟烤火炉烧柴加厚铸铁胆气化炉