相关图片
随机推荐
全民战疫实拍青岛机场加强防控严防境外疫情输入
非常养眼的静物花卉,瑞典艺术家 olle hjortzberg油画作品鉴赏
abc唱片 长发妹 克丽丝朵61盖尔 开盘母带直刻1:1cd 高品质音乐光盘
明星全家福,谁丑遗传谁,丑基因真的是一点没浪费,白瞎了好基因
钩针编织风车花超美的连衣裙的钩织花样图解
不同尺寸证件照用途大揭秘,赶紧收藏吧!
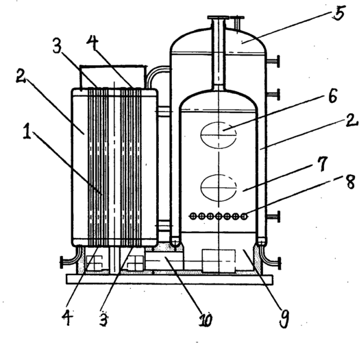
一种反烧多回程生物质低碳节能蒸汽锅炉
尺神经卡压查体及治疗定位
孟非15岁女儿孟星亚曝光穿花裙漂亮乖巧图
李克勤老婆庆祝50岁生日皮肤白里透红吹弹可破时光真是太偏心
【顺丰包邮】 acer e5-471g-53xx i5处理器 4g内存 500g硬盘 2g独显
盘点十二星座都是什么王