邓伦穿运动装化身活力型男秀篮球技能帅气满分
邓伦超级企鹅super3联赛图片
打篮球的邓伦也也太帅了吧.
邓伦图库这就是灌篮3
邓伦这就是灌篮剧照公开热血篮球少年今日即将上线
邓伦同款发型如何剪(邓伦换发型好似)(6)
邓伦在综艺《这就是灌篮》中表现不错
邓伦一袭运动装现身活动,手拿篮球男友力超man
邓伦解密冬季运动时尚 与粉丝互动篮球游戏
邓伦节目生图上线化身篮球少年阳光帅气
篮球经理人邓伦淡定沉着,公平公正,控场能力max,锁定优酷《这就是灌篮
红木拐杖实木鸡翅木质老人拐杖老年人整体根雕手杖复古新年寿礼
客厅电视背景墙储物柜77转角鞋柜组合
那年那兔那些事头像二
《锦绣未央》李长乐
鲤鱼怎么做好吃,鲤鱼竟如此的聪明,机警(鲤鱼怎么做好吃 家常)
现在最流行的男发型(男生很帅气的3款短发造型) - 辣妈贝贝
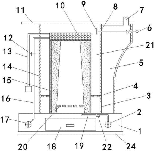
一种高效节能回风炉的制作方法
二等 i> i>奖 /i> /i>原创卡通字体
日本小清新街道唯美高清桌面壁纸_风景壁纸_壁纸下载_美桌网
悦耳雨声,轻轻入耳,沉醉了岁月,沉醉了我的思念
简约壁纸原图聊天背景图绿色
蜡笔小新情侣头像