秸杆气化炉怎么制作
柴气炉原理和方案设想
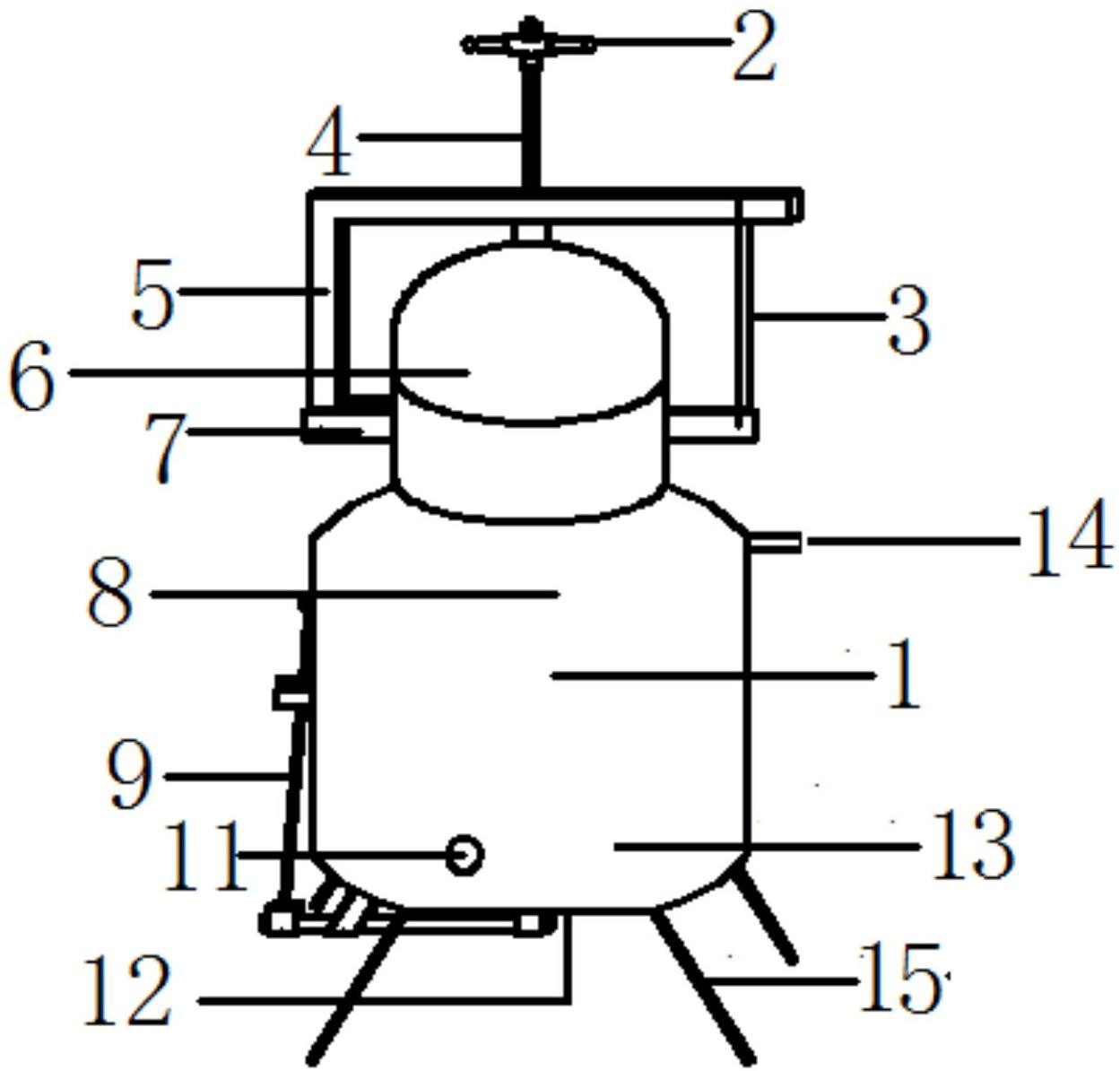
桔杆气化炉图纸
柴火炉子 柴煤两用取暖炉多功能无烟气化炉回风炉节能煤炭蜂窝煤烤火
煤气罐改装柴火炉配件老式铁炉子铸铁炉芯内胆铁炉芯柴火气化炉胆
关于进藏用柴气炉做饭的柴火问题
一种间接燃烧秸秆,树枝,稻草和垃圾的气化炉
大型气化炉大型生物质气化炉大型秸秆气化炉厂家直销
cn203048892u_一种新型吸式生物质秸秆气化炉有效
浙江久凡气化炉不算不知道,一算省不少
炭化炉工作原理
燕双鹰首长被处决燕双鹰悲愤交加在雨中哀嚎哭泣
可爱皮卡丘来啦
480_640竖版 竖屏gif 动态图 动图
45岁袁泉身材棒棒哒!盛装出席活动,网友:中国赫本_女士_年龄段_方式
古代山水画"四大家"
健身是治愈一切的良药!#健身 #健身壁纸 - 抖音
网上平和堂conversechuck70低帮休闲帆布鞋男女鞋171569c夏威夷蓝
草履虫都会的十二星座眼睛画法 十二星座眼睛画法|procreate绘画,你
美出新高度明制汉服婚纱照青岛婚纱照
开宝马是一种极致驾控感受,那么买宝马又是何种体验?
宫崎骏《千与千寻》在华票房喜人 累计票房近3亿
眼线君