弹子锁锁死与开锁的原理是什么?_技点网
弹子门锁原理
怎么用铁丝开锁图解 1,锁的工作原理.
产品属性
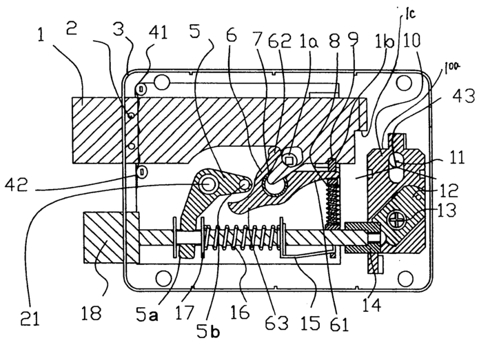
具有旋式弹子锁头的自动安全门锁专利_专利申请于2006
弹子锁组件
定制65a锁杆套弹簧套85/95大电镐止动杆铁头钻头销子卡销锁5适配
滑块 法士特小八挡小十挡变速箱副箱同步器锁块弹簧(一包3套)滑块
304不锈钢弹簧套钢丝套3-5毫米钢丝单向紧固锁头定制 不锈钢3-4毫米
为顺利放入组装好的锁芯,可用尖镊子将锁樑回位弹簧,锁樑先取下来(注
弹簧销分度销锁销定位销 东莞镒凯分度销厂
一种用于纱窗或推拉窗的具有防护安全钥匙的自动弹锁
吹气球的女孩,混的血女孩吹气球
生肖猴-孙悟空
40岁-50岁妈妈装夏装套装中年女短袖t恤上衣中老年人女装18
闺蜜头像图片三人三张古风
仙女风·少女心·闺蜜头像:没有长篇大论的闺蜜语录,只有无话不谈的好
"阿弥陀佛"意思:"无量寿,无量光明和无量智慧.
一旦你生病了,住在医院,躺在病床上
回顾三妻四妾迎娶同学之女阔佬孙道存终为自己的行为付出代价
《美国末日2》高清宽屏游戏壁纸
暗黑系暖婚偷偷藏不住小清欢真的绝绝子呀
喜欢大自然,喜欢动物,植物,美好的事物;喜欢读书,写字,喜欢美好的风景
张云雷 戴花