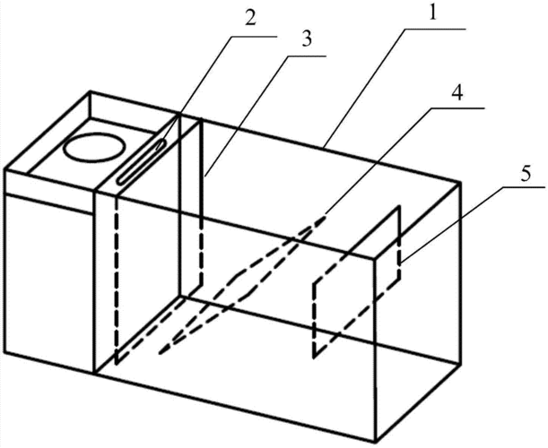
萃取槽的内部结构
厂家直销实验室透明聚氯乙烯材质萃取槽6l混合澄清槽支持定 制
萃取槽
萃取槽反酸过大的危害有哪些_操作_的设备_酸性
防腐型箱式萃取槽制造技术
一种新型的锌提取用萃取槽的制作方法
萃取槽-爱企查
一种萃取槽的制作方法
一种低温萃取罐
一种改进型萃取槽-爱企查
安全型萃取槽制造技术
一种萃取槽
一年了感恩我的贵人
花茶摄影 i 玫瑰花茶
枭起青壤##迪丽热巴聂九罗
2021年3月12日清晨早上好问候祝福动态表情图片 最新早安祝福创意带字
秋天不回来 歌谱简谱网
max舞蹈室logo设计
孙怡清新靓丽写真图片桌面壁纸
《博人传》佐助重获轮回眼?桃式再次现身,剧情留下伏笔
适合原耽女孩的头像撒野 - 可爱情侣头像!
美意婚礼【红色中式婚礼】
萌宠gif猫星人gif睡了gif勿扰gif回聊gif呆萌gif可爱gif
今天是十二星座魔法少女系列的第七个~~女王又霸气的狮子座