治愈系星空壁纸图集,做朋友圈背景图片充满了高级感,风景高清图 - 抖
唯美璀璨的星空图片桌面壁纸
星空壁纸196
最美的星空壁纸
印度电影插曲.
壁纸李敏镐图片佟丽娅图片林允儿图片卡通图片治愈系图片柳岩图片小
自然 风景 星系 星空 高清壁纸
星空壁纸125
灿烂的星空
15 星空 宇宙 梦幻 月亮 星星壁纸 背景图 插画 拼接色彩 治愈 cr
jknevergiveup
稀少极光星空治愈大自然壮观唯美风景高清图片
享悦时光,假体隆鼻整形术 塑造俏丽美鼻!
王馨平简介老公及老爸等王馨平个人资料
轻奢别致,简约优雅又显瘦的波点大码连衣裙
金鱼简笔画
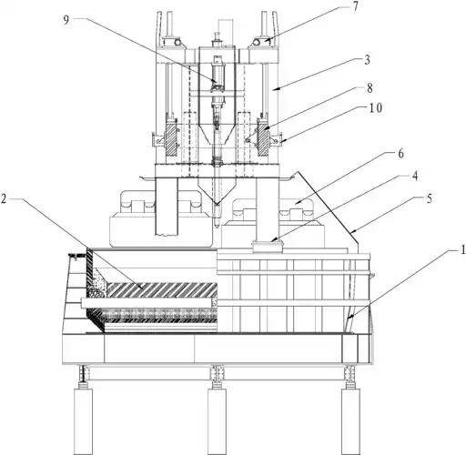
代替土窑炭化的新型炭化炉设备
英国贵族学校有多好看你知道吗?最美校园是这些,好想再当一次学生.
开关500w调速220v调光调压调温无极变速调速开关
此兰花以颜值著称现排名第一比牡丹还美谁养谁喜欢
姐- 生字笔顺演示
一种预焙阳极铝电解槽
唯美健身头像图片_头像图片_扣扣乐园
迪斯尼-公主,高清图片,电脑桌面-壁纸族