一种高效低nox二级自身预热式烧嘴
cn103912874a_预混式燃气烧嘴及方法失效
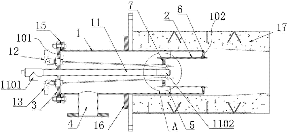
一种多级燃烧节能环保烧嘴制造技术
该阻火器适用于管道,闪点低于28℃的甲类,油品,氢
一种基于天然气加热燃烧烧嘴的制作方法
cn1945119a_阴极焙烧炉燃气烧嘴有效
传热作用 管道阻火器能够阻止火焰继续传播并迫使
干货学习:油罐阻火器安装示意图
一种燃烧器的点火结构及燃气灶具的制作方法
不锈钢燃气阻火器原理,结构特点及性能测试方法的说明
包烤包器(烘烤器)详图(立式离线烘烤器)下载_工业/农业机械_机械图纸
管道阻火器结构及工作原理
高档轻奢奶奶绵绸连衣裙中老年女装60岁70妈妈中长款老人棉绸短袖裙子
[开箱]《钢铁侠2》合金马克5/mk5
中阮曲谱分享思恋
这94种贵州茅台酒,飞天茅台最便宜,涨知识
慢性咳嗽也会是鼻子的问题
红色建党百年红金标题栏简约设计元素
有品位的男人微信头像高清成熟头像推荐
陈伟霆老九门剧照图片桌面壁纸一
营养不胖人美可卓maxigenes脱脂高钙成人奶粉1kg罐1000g进口奶粉学生
水培的红薯长势喜人啊
宝马x7 6座大越野6015一家人就要整整齐齐
美丽的落日晚霞