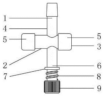
一种新型集尿袋十字阀
图片链接
缩略图
原图
外链
相关图片
一次性使用引流袋 防逆流精密胆汁集尿袋导尿管家用加厚男女老人
康乐保1020 引流袋尿袋 卧床老人接尿器 男 瘫痪病人用品 导尿管.
20只一次性引流袋尿袋导尿十字阀防逆流1000ml医用加厚加长1.
一次性使用防返流引流袋集尿袋防逆流1000ml加粗加长软管 十字阀每铑
男性一次性尿袋使用图解
接尿器小便防返流集导尿包导尿管十字阀尿袋10个十字阀防逆流2000ml
澳欧aoocn医用一次性使用引流袋1500ml椭圆十字阀型尿袋防逆流c30i006
袋体上设有第一防回流阀,第一防回流阀连通袋体的内腔与尿管之间;转接
薛湖 十字阀式 500ml绑腿式集尿袋 透明集尿袋 绑腿式集尿袋 绑腿尿袋
商品描述是否跨境出口专供货源否规格1000毫升(十字阀门),2000毫升
事达 一次性使用引流袋 十字阀 防逆流 1000ml抗返流型
适用于一次性无菌双腔三腔膀胱冲洗男用女用儿童引流尿袋1000ml69元发